Introducción
En vista de que las variables complejas y
están relacionadas mediante
, la localización de los polos y los ceros en el plano
está relacionado con la localización de los polos y ceros del plano
. Por lo tanto, la estabilidad del sistema en lazo cerrado en tiempo discreto lineal e invariante con el tiempo puede determinarse con base en las posiciones de los polos de la función de transferencia pulso en lazo cerrado. Debe observarse que el comportamiento dinámico del sistema de control en tiempo discreto depende del período de muestreo
.
Correspondencia del semiplano izquierdo del plano s hacia el plano z
Cuando en el proceso se incorpora un muestreo por impulsos, las variables complejas y
quedan relacionadas mediante la ecuación:
Esto significa que un polo en el plano s puede quedar localizado en el plano mediante la transformación
. Dado que la variable compleja
está formada de una parte real σ y una parte imaginara ω, tenemos:
Y
En esta última ecuación se observa que los polos y los ceros en el plano , donde las frecuencias difieren en múltiplos enteros de la frecuencia de muestreo
, corresponden a las mismas localizaciones en el plano
. Esto significa que por cada valor de
existirá un número infinito de valores
.
Dado que σ es negativo en el semiplano izquierdo del plano , eso corresponde a:
El eje en el plano
corresponde a
.
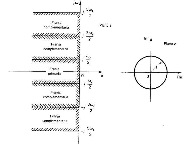
Franja primaria y franjas complementarias
En vista de que , el ángulo de
varía desde
hasta
conforme
varía desde
hasta
. Se toma en punto representativo en el eje
del plano
. Conforme este punto se mueve sobre el eje
desde
hasta
, siendo
la frecuencia de muestreo, se tiene que
, y
varía desde
hasta
, en dirección antihoraria en el plano
. Conforme el punto representativo se mueve desde
hasta
, sobre el eje
, el punto correspondiente en el plano
traza un círculo unitario en sentido antihorario. Por lo tanto, conforme en el punto en el plano
se mueve en el plano
desde
hasta
, se dibuja el círculo unitario en el plano
un número infinito de veces.

Esto implica que el semiplano izquierdo del plano s puede dividirse con un número infinito de franjas periódicas, tal como se muestra en la figura. La franja primaria se extiende desde hasta
. La franja complementaria se extiende desde
hasta
y posteriores.
En la franja primaria, si se traza la secuencia de puntos 1-2-3-4-5-1 en el plano , tal trayectoria entonces corresponde a un círculo unitaria con centro en el origen del plano
.

El área encerrada por cualquiera de las franjas complementarias se transforma en el mismo círculo unitario en el plano . Esto significa que la correspondencia unitario en el plano
. Esto significa que la correspondencia entre el plano
y el plano
no es única. Un punto en el plano
corresponde a un número infinito de puntos en el plano
, aunque un punto en el plano
corresponde a un solo punto del plano
.
Dado que la totalidad del semiplano izquierdo del plano s corresponde al interior del círculo unitario en el plano , la totalidad del semiplano derecho del plano
corresponde al exterior del círculo unitario del plano
. Si la frecuencia de muestreo es por lo menos dos veces mayor que la componente de frecuencia más involucrada en el sistema, entonces cada uno de los punto del círculo unitario del plano
representarán frecuencias entre
y
.
Lugar geométrico de atenuación constante
Una línea de atenuación constante (una línea trazada con =cte.) en el plano s corresponde a un círculo unitario de radio
con centro en el origen en el plano
.

Tiempo de asentamiento
Queda determinado por el valor de la atenuación de los polos dominantes en lazo cerrado. Si se especifica el tiempo de asentamiento es posible dibujar una línea
en el plano
que corresponda a un tiempo de asentamiento dado. La región en el plano s a la izquierda de la línea
corresponde en el plano
a la parte interior de un círculo de radio
.

Lugar geométrico de frecuencia constante
Un lugar geométrico de frecuencia constante en el plano
corresponde en el plano
a una línea radial de ángulo constante
(en radianes). Las líneas de frecuencias constante en
en el semiplano izquierdo del plano
corresponden al eje negativo entre 0 y -1 en el plano
, dado que
. Las líneas de frecuencia constante en
en el semiplano derecho del plano
corresponden al eje real negativo del plano
entre -1 y –
. El eje real negativo del plano
corresponde al eje real positivo del plano
entre 0 y 1. Y las líneas de frecuencia constante en
(
) en el semiplano derecho del plano
corresponda al eje real positivo del plano
, entre 1 e
.

La región limitada por las líneas de frecuencia constante y
(donde tanto
como
ocurre entre
y
) y las líneas de atenuación constante
y
, corresponden a una región limitada por dos líneas radiales y dos arcos circulares.

Figura 6. Región limitada por lineas ,
,
y
en el plano s (lado izquierdo) y región correspondiente en el plano z (lado derecho).
Lugares geométricos de factor de amortiguamiento relativo constante
Una línea de factor de amortiguamiento relativo constante (una línea radial) en el plano corresponde a una espiral en el plano
. En el plano
una línea de factor de amortiguamiento relativo constante puede ser determinada por
En el plano esta línea se convierte en
Si :
Si
Así que
y

Observe que si la línea de factor de amortiguamiento relativo constante está en el segundo o tercer cuadrante del plano s, entonces la espiral decrece dentro del círculo unitario en el plano . Sin embargo, si esta línea aparece en el primer o cuarto cuadrante en el plano s (lo que corresponde a una amortiguación negativa), entonces la espiral crece por fuera del círculo unitario. En la figura 7 se muestran los lugares geométricos de un factor de amortiguamiento relativo constante para
= 0, 0.2, 0.4, 0.6, 0.8 y 1. El lugar geométrico de
, es una línea horizontal entre los puntos
y
. Aquí sólo se muestran los lugares geométricos al semiplano superior del plano
, lo que corresponde a
. Para
son imágenes espejo de los lugares geométricos del semiplano superior del plano
en relación con el eje horizontal.

Adviértase que los lugares de constante son normales a los lugares geométricos de
constante del plano
.

En la correspondencia en el plano , los lugares geométricos de
constante intersectan las espirales de las
constantes en ángulos constantes. Una correlación o transformación como ésta, que conserva tanto la dimensión como el sentido de los ángulos, se conoce como mapeo o correspondencia conforme.

Regiones del plano s y del plano z para ζ > ζ_1.
En la figura 10 muestra los lugares geométricos de constante (
) tanto en el plano
como en el plano
. Note que las espirales logarítmicas mostradas corresponden a la franja primaria del plano
.

Si todos los polos del plano definen como con un factor de amortiguamiento relativo no menor que el valor especificado
, entonces los polos deberán ocurrir a la izquierda de la línea de factor de amortiguamiento relativo constante en el plano
(la región sombreada). En el plano
, los polos deberán presentarse en la región limitada por espirales logarítmicas correspondientes a
(región sombreada).

Si el período de muestreo es largo y el teorema de muestreo no es satisfecho, ocurrirán un doblamiento en frecuencia y se modificarán las localizaciones efectivas de polos y ceros. Suponga que un sistema de control en tiempo continuo tiene en el plano s polos en lazo cerrado en . Si el sistema se involucra la operación de muestreo y si
, ocurrirá un doblamiento de frecuencia y el sistema tendrá polos en
, donde
. Esto significa que la operación de muestreo dobla los polos exteriores en la franja primaria hacia el interior de la franja primaria, y los polos volverán a aparecer en
.

Figura 12. Diagrama que muestra los polos en el plano s en y los polos con doblamiento que aparecen en
,
, … , y correspondencia en el plano z de los polos del plano s en
,
,
, … .