Sistema en tiempo discreto
Considere el sistema en tiempo discreto ilustrado en la figura 1. La función de transferencia del sistema en lazo cerrado es:
Donde

Tal como en el caso de sistemas en tiempo continuo, las condiciones de estabilidades absoluta relativa y absoluta del sistema en tiempo continuo en lazo cerrado se pueden investigar al hacer las trazas en el dominio de la frecuencia de . Ya que el eje positivo
del plano s corresponde a la frecuencia real, las trazas en el dominio de la frecuencia de
se obtienen al hacer
y dejando que
varía desde 0 hasta
. Esto también es equivalente a mapear los puntos sobre el círculo unitario, |z|=1, en el plano z dentro del plano
. Ya que el círculo unitario se repite por cada frecuencia de muestreo
, cuando
varía a lo largo del eje \latex j\omega,$ la traza en el dominio de la frecuencia de
se repite para
hasta
,
. Por tanto es necesario dibujar
sólo para el rango de
hasta
. De hecho, ya que el círculo unitario en el plano s es simétrico con respecto al eje real, la traza de
en coordenadas polares
hasta
necesita ser diagramado.

La traza de bode con la transformada w
La transformada w se obtiene mediante el “método de transformación bilineal”. Existen muchas transformaciones bilineales de la forma:
En donde ,
,
,
son constantes reales, y
es una variable compleja, esto transformará los círculos en el plano
en líneas rectas en el plano
. Una de las transformadas que conviene el interior del círculo unitario del plano
en el semiplano izquierdo del plano
es:
Que se conoce como transformada . Esta transformada es probablemente la forma más simple que puede emplearse en forma manual.
Otra transformada que a menudo se utiliza en el diseño de sistemas de control en tiempo discreto en el dominio de la frecuencia es:
La ventaja de la transformada sobre la transformada
es que el eje imaginario del plano
se aparece al del plano $late s$. Para demostrar esto se hace lo siguiente:
Por lo que el círculo unitario en el plano se mapea en el eje imaginario
en el plano
. La relación entre
y
, la frecuencia real, es:
En donde es la frecuencia de muestreo en rad/seg. La correlación entre
y
es que ambas van a 0 y
al mismo tiempo.
Para el análisis en el dominio de la frecuencia de un sistema en tiempo discreto, se sustituyen esas ecuaciones en G(z) para obtener ; el último se puede emplear para formar las trazas de Bode o la traza polar del sistema.
Problema resuelto
Problema 1. Sea la función de transferencia del proceso del sistema de la figura 1 como sigue:
Y la frecuencia de muestreo es 4 rad/seg.
Solución. Con retenedor de orden cero
Por fracciones parciales
Donde
Aplicando transformada inversa de Laplace, sustituyendo y transformada z:
Regresando
Si la frecuencia de muestreo es de rad/seg:
seg
Sustituyendo en el resultado de la transformada
Ahora , sin retenedor de orden cero
Aplicando fracciones parciales
Donde .
Aplicando transformada inversa de Laplace, sustituyendo y transformada
Regresando y sustituyendo con el valor de :
Entonces, si el sistema no tiene un retenedor de orden cero, el sistema a tomar es la ecuación anterior. Ahora, La respuesta en frecuencia de se obtiene al reemplazar z por
de la ecuación G(s). La traza polar de
para
hasta
se muestran en las figuras 3 y 4.

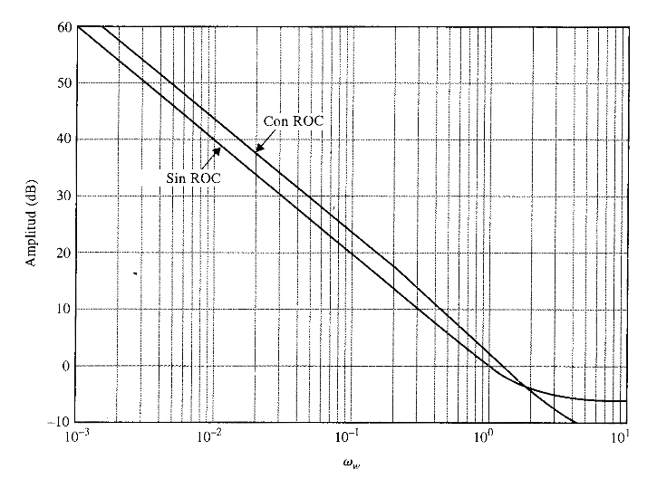
Figura 3. Trazas de Bode de G_{h0} G(z) del sistema, con G(s) = 1.57 / [s(s+1)], T=1.57 (seg), con retenedor de orden cero y sin retenedor de orden cero. 
Figura 4. Trazas de Bode de G_{h0} G(z) del sistema, con G(s) = 1.57 / [s(s+1)], T=1.57 (seg), con retenedor de orden cero y sin retenedor de orden cero.

Tomando el resultado final que incluye el retenedor de orden cero
se muestran en las figuras 3, 4 y 5 la traza polar y las trazas de Bode. En la traza polar del sistema con el retenedor de orden cero se intersecta con el eje real negativo en un punto más cercano al punto que aquel sistema sin el retenedor de orden cero. Por lo que el sistema con el retenedor de orden cero es menos estable. En forma similar, la fase de la traza de Bode del sistema con retenedor de orden cero es más negativo que aquel sistema sin el retenedor de orden cero. El margen de ganancia, el margen de fase y el pico de resonancia de los dos sistemas se muestra los siguiente:

Como alternativa, las trazas de Bode y la traza polar de la función de transferencia de la trayectoria directa se pueden efectuar utilizando la transformada . Entonces, para el sistema que incluye el retenedor de orden cero, su función de transferencia de la trayectoria directa en el dominio w se determina a continuación.
Si T=1.571 (seg), resulta
*Nota. El autor Benjamín C. Kuo, del libro Sistemas de control automático, brinda un resultado diferente al obtenido anteriormente, y es
Y para el resultado del sistema sin retenedor de orden cero, aplicando la transformada w tiene la siguiente expresión
Si T=1.571 seg, resulta
*Nota. El autor Benjamín C. Kuo, del libro Sistemas de control automático, brinda un resultado diferente al obtenido anteriormente, y es
Sustituyendo esta última ecuación , las trazas de Bode tienen la siguiente forma (figuras 6 y 7):

Figura 6. Trazas de Bode de G_{h0} G(z) del sistema, con G(s) = 1.57 / [s(s+1)], T=1.57 (seg), con retenedor de orden cero y sin retenedor de orden cero, en base a w = jω_n. 
Figura 7. Trazas de Bode de G_{h0} G(z) del sistema, con G(s) = 1.57 / [s(s+1)], T=1.57 (seg), con retenedor de orden cero y sin retenedor de orden cero, , en base a w = jω_n.
Se concluye en este problema que una vez reemplazado z por en la función de transferencia del dominio z, al emplear la transformada w, todas las técnicas de análisis en el dominio de la frecuencia disponibles para sistemas en tiempo discreto, se pueden aplicar a sistemas en tiempo discreto.